- お問い合わせ先電話番号
-
【東京本社】 TEL:03-5472-1736
【大阪支店】 TEL:06-6867-7743
【名古屋支店】TEL:052-238-1331 - この製品のお問い合わせはこちら
製品
撹拌・脱泡・乳化・分散
連続式発泡機(フォーミングマシン)
製造:大平洋機工株式会社 / 日本
連続式発泡機フォーミングマシンは、液体中に気体を均一に混合分散できるミキシング装置です。食品や樹脂等の化学製品原料を連続的に発泡させることを得意とし、原料供給量、回転数、気体供給量、内部圧力を制御することで希望のきめ細かさを持った発泡製品を安定的に生産できます。
製品の特長
-
連続式発泡機はフォーミングに必要なコンポーネントがユニットに組み込まれ、安定した生産を連続的に行えるように設計されています。
装置は原料を供給する定量ポンプ、発泡させるミキサー本体、気体供給および運転操作する操作盤で構成されています。
ミキサーには多数の分散歯を持った特殊設計のミキシングヘッドがあり、これが高速回転しながら原料と共に供給される気体を均一に混ぜ合わせます。原料は定量ポンプでミキシング室に送られます。原料がミキシング室に入る直前に、発泡に使用する気体が原料に送り込まれ、直後に発泡処理されます。ミキシング室はジャケット構造になっており、冷却水を流すことで製品温度の上昇を抑えることができます。これにより食品では高いオーバーラン値を実現できます。
連続運転時においては品質の安定性は特に重要です。以下の調整をすることでお客様ご希望の発泡度合いを実現します。
・原料供給量
・ガス供給量
・ミキシング室の圧力
・ミキシングヘッド回転数
・ジャケット温度 -

連続式発泡機には発泡性と操作性向上のための様々な機構が備わっています。
◆ サニタリー性を重視した一体加工のミキシングヘッド
一体加工のためサニタリー性にとても優れています。一般的なピンタイプとは異なり、
遠心力の一番強い外側に分散歯を配置して高いせん断力を与える構造です。 -

◆ ミキシング効果を上げるためミキシング室を加圧
サニタリー性に配慮したダイアフラムの背圧弁を備えています。ダイアフラム弁の
開度を調整することでミキシング室内部を加圧します。
◆ 製品の品温を調節できるジャケット構造
ミキシング室の周囲はジャケット構造になっており、チラー水を流すことで
冷却しながら発泡処理をすることができます。 -

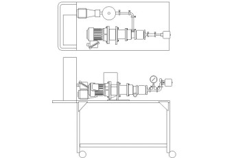
◆ 場所を取らないコンパクトな構想
MDF0のユニット全体像
小型のモデルでは一体ユニット化することが可能です。 -

◆◆◆ 小型モデルでテスト機のご用意があります。 ◆◆◆
メーカー試験場にて原料を使ったテストができますので、ぜひお問い合わせ下さい。
製品の適用例
化学: 高分子樹脂の発泡(PVC、ポリエステル、ウレタン等)
その他原料に気体を均一に分散させる気液混合プロセス
製品の仕様
| 型式 | 目安処理量 |
| MDF-0 | 120L/h |
| MDF-1 | 400L/h |
| MDF-2 | 1,400L/h |
| MDF-3 | 2,000L/h |
| MDF-4 | 7,000L/h |
粉体部門
東京本社
TEL:03-5472-1736 FAX:03-5472-1730
大阪支店
TEL:06-6867-7743 FAX:06-6867-7746
名古屋支店
TEL:052-238-1331 FAX:052-238-1332
